Едно от най-дразнещите неща при безжичните периферни компютърни джаджи е, че периодично оставаме без клавиатура и мишка, защото батериите им ненадейно свършват, и винаги сме неподготвени.
Именно този проблем цели да поправи Apple с наскоро получен патент за технология, която позволява безжично зареждане, без да е нужно джаджите ни да са в допир със специална подложка или кабел.

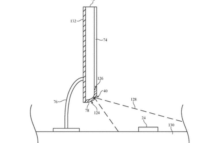
Източник: USPTO
Идеята на Apple е да превърне настолните си компютри в лицето на iMac и Mac mini в източници на енергия за мишките, клавиатурите и дори телефоните на потребителите си.
Според патента, енергията е възможно да идва директно от под екрана на компютъра, благодарение на специални антени и радио вълни. В патента се споменава, че е възможно технологията да се използва и за зареждане на по-големи и взискателни устройства.
В документа на Apple се обяснява още, че технологията би могла да превърне конвенционалните домашни рутери в безжични зарядни устройства, които да зареждат джаджите ни независимо къде са у дома.
Подобен патент бе връчен на компания на име Powercast през 2017 г., който предполагаше безжично зареждане в радиус от 40 метра, но все още не сме видели такъв продукт.