Китайската компания DJI е известна най-вече с висококачествените си дронове, които са подходящи както за любителите фотографи, така и при заснемането на истински филмови продукции.
Много възможно е обаче съвсем скоро DJI да предложи на потребителите си нова джаджа под формата на високопроходима кола на дистанционно, оборудвана с всевъзможни екстри и разбира се, камера.
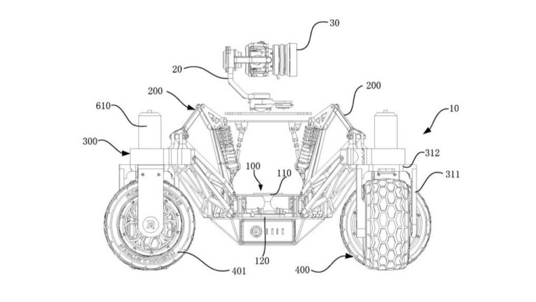
Тази седмица компанията получи патент за нея, от който научаваме, че количката ще може да се върти около оста си, благодарение на въртящите се на 180 градуса колела.

Източник: USPTO
Не става ясно с каква камера ще разполага тя, но пък знаем, че камерата ще е подвижна и ще може да се издига като перископ над колата.
Патентът разкрива още, че камерата ще печели от нови системи за стабилизация, които ще взаимодействат със системите на управление за максимално гладки кадри, дори при неравен терен.
Въпреки че в момента говорим само за патент, шансовете той да се превърне в истински продукт са доста големи.
В последните години основен проблем за продажбите на дронове са рестрикциите, които някои държава налагат върху ползването им на определени места.
Подобна количка с камера обаче би заобиколила тези ограничения и би предоставила на феновете на компанията възможност за още повече креативност при създаването на фото и видео съдържание.