През последните седмици често чуваме, че през последните две години Apple са научили важен урок и възнамеряват да изненадат потребители и индустрия с осезаемо променен iPhone догодина.
Последната по-голяма промяна във вида на iPhone бе iPhone X, който въведе новия екран, Face ID и елиминира големите рамки през 2017 г.
Оттогава Apple отнесе доста критика, че за тези две години не успя да предложи иновативни промени, както някои от водещите производители на Android смартфони направиха.
Ако сегашните слухове се окажат верни, това ще се промени още от догодина, когато компанията ще пусне изцяло променен iPhone. Естествено, големият въпрос е как ще изглежда той?
През 2013 г. компанията получи патент за овален телефон с екран, който достига чак до гърба на устройството, но е факт, че до момента не сме чували и виждали нищо относно този продукт.

Източник: USPTO
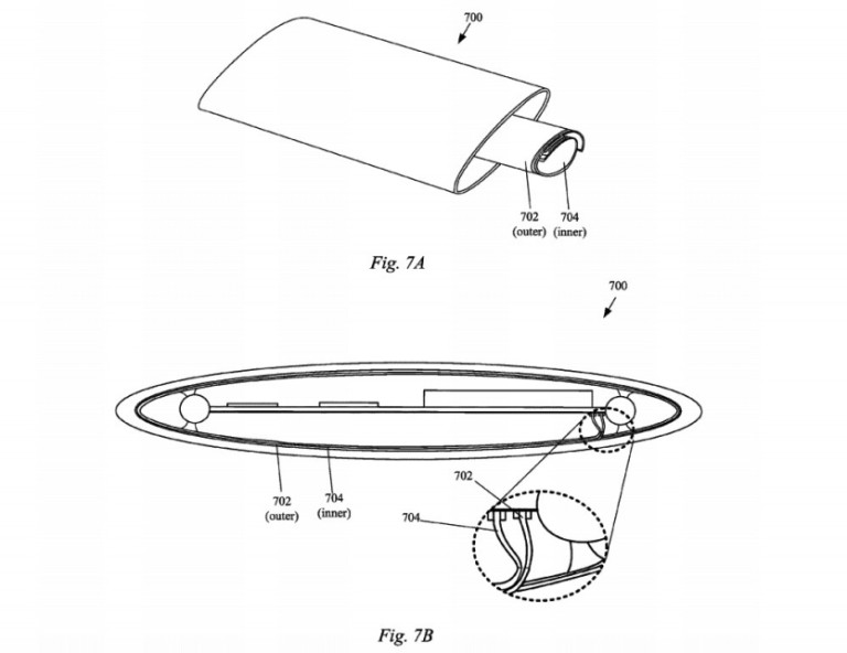
Преди месец обаче компанията е получила нов патент за подобен телефон, който има потенциала да се превърне в следващия iPhone.
Отново става въпрос за овален дизайн, но разликата е, че в сегашния патент виждаме екран, който обикаля целия корпус на телефона.

Източник: USPTO
Патентът описва и системи за лицево разпознаване от двете страни на устройството, камери под екрана и дигитални бутони от двете му страни.
Дали този патент действително ще се превърне в продукт - няма как да знаем, но поне получаваме някаква идея за намеренията на Apple.