Въпреки разнопосочните слухове по адрес на Samsung Galaxy Fold, все още няма достоверна и еднозначна информация за това дали и кога телефонът изобщо ще излезе на пазара.
Вчера СЕО-то на компанията Ди Джей Ко заяви пред медиите, че Fold действително не е бил готов за излизането си на пазара и тестването му все още продължава.
Гафът със сгъваемия смартфон обаче далеч не е достатъчен да попречи на Samsung да мечтае и да развива следващо поколение смартфони.

Източник: USPTO
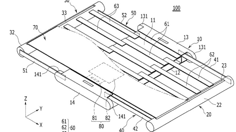
Наскоро компанията е получила патент за смартфон, чиито екран се разтяга от двете страни на основния екран и придобива размерите на таблет.
Сам по себе си екранът не се разтяга. Той е гъвкав и се навива в тялото на смартфона, както можем да видим на графиките от Let's Go Digital.

Източник: Let's Go Digital
А Samsung вече разполага с такава технология, която прилага при някои от най-новите и скъпи телевизори.
За момента не се знае дали новият патент ще се превърне в истински продукт, но далеч не е изключено още през идните години да видим подобен вариант на смартфон, имайки предвид провала и на Galaxy Fold, и на Huawei Mate X, които разчитаха на сгъваеми панели.