Motorola Razr безспорно е един от най-емблематичните телефони на миналото. Сгъваемият и елегантен корпус, наситените цветове и светещата клавиатура спечелиха сърцата на много от нас през 2004 г.
От известно време в мрежата циркулират слухове, че компанията готви нов вариант на Razr, a наскоро ни попаднаха и патентни изображения на потенциалния модел, които разкриват доста за него.

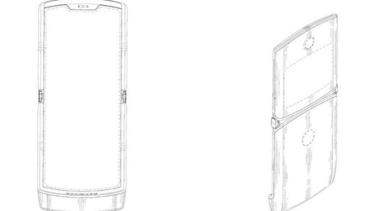
Източник: Motorola Mobility
От снимките става ясно, че новият Razr ще запази най-доброто от миналото и ще го смеси с най-доброто от технологиите в момента.
Телефонът ще продължи да е сгъваем, но вместо клавиатура, цялата вътрешна част ще представлява сгъваем тъч екран.

Източник: Motorola Mobility
Новият Razr най-вероятно ще поддържа 5G сигнал и ще струва 1500 долара, съобщава WSJ.
По данни на същия източник, Motorola може би ще разкрие телефона в пълния му блясък още през следващия месец, но няма как да бъдем сигурни в това на този етап.