Microsoft има големи планове за изкуствения интелект, като технологичният гигант се стреми да го интегрира във всичките си услуги и продукти, но дори и в такива, които в момента не продава.
През последната седмица на август компанията на Бил Гейтс е получила патент за туристическа раница с изкуствен интелект, която да е наш верен спътник при преходи и пътуване.
Устройството ще използва сензори за сканиране на средата около нас и изкуствен интелект, който ще ни напътства в трекинга.

Източник: Openart.ai
Според описанието в патента раницата може да включва различни микрофони и камери, както и да приема гласови команди.
Така например бихме могли да питаме раницата по коя пътека да продължим или да я помолим да ни разкаже повече за видовете растения около нас.
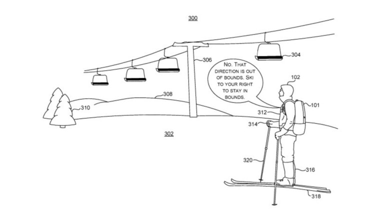
Microsoft също така дава пример със скиор, който би могъл да попита раницата дали може да се спусне по определен склон.

Източник: USPTO
В подобна ситуация изкуственият интелект ще може да прецени дали наклонът е твърде опасен за нас, като вземе предвид различни показатели на околната среда.
Важно е да отбележим, че не всички патенти се превръщат в реален продукт.
В случая би било странно да очакваме Мicrosoft действително да започне да произвежда раници, но пък е очевидно, че компанията има силен интерес към преносимите устройства и интелигентните сензори, което в крайна сметка би могло да доведе до най-различни нови продукти на марката.