Apple наскоро представи тазгодишните си смартфон модели, за които обяви, че са направени от най-здравото стъкло, използвано някога в iPhone.
Няма как да сме впечатлени от това изявление, защото го чуваме при всяко обявяване, а, ако сме били собственици на някои от iPhone 6 моделите, ще знаем, че дори алуминиевият корпус се огъва лесно.
Тим Кук и компания изглежда са решили да работят усърдно за създаването на телефон, който да издържи и в най-безмилостната среда.
През март 2017 г. компанията е вкарала в патентния офис искане за регистриране на технология, която би направила джаджите на Apple нечупливи.

Източник: USPTO
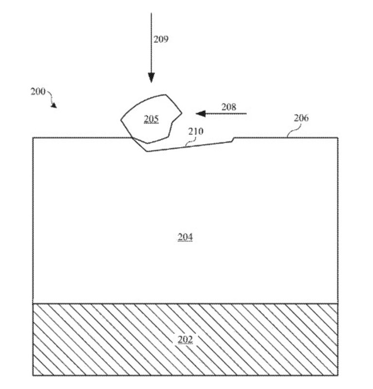
Патентът предвижда външният слой от покритието да е от няколко пласта, които включват метален субстрат. Целият този слой ще е дебел около 0.5-3 микрометъра, а този под него - около 8-30 микрометъра.
Външната обвивка може би ще е керамична или карбонова - здрава, колкото диамант. Това би било и уникален маркетингов трик за компанията.

Източник: USPTO
Както виждаме от патентните изображения, технологията би могла да се приложи и в часовниците, таблетите и компютрите на Apple.

Източник: USPTO
Патентът не е гаранция, че дадената идея ще стигне до поточната линия и ще бъде реализирана. Но сме склонни да вярваме, че компанията действително готви подобна технология, предвид историята с огъващите се и лесно чупливи iPhone модели.